Structural Components & Rails for 2003 Subaru Legacy
Vehicle
2003 Subaru Legacy
Change Vehicle
Categories
- Bumper & Components - Front
- Bumper & Components - Rear
- Center Console
- Center Pillar
- Cluster & Switches
- Cowl
- Door
- Door & Components
- Doors
- Ducts
- Exterior Moldings
- Exterior Trim - Fender
- Exterior Trim - Front Door
- Exterior Trim - Lift Gate
- Exterior Trim - Pillars
- Exterior Trim - Quarter Panel
- Exterior Trim - Rear Door
- Exterior Trim - Trunk
- Fender & Components
- Floor & Rails
- Front Door
- Front Seat Components
- Fuel Door
- Gate & Hardware
- Glass - Front Door
- Glass - Lift Gate
- Glass - Rear Door
- Glass - Windshield
- Glass & Hardware
- Glass & Hardware - Back
- Glove Box
- Grille & Components
- Hinge Pillar
- Hood & Components
- Inner Structure
- Instrument Panel
- Interior Trim
- Interior Trim - Front Door
- Interior Trim - Pillars
- Interior Trim - Quarter Panels
- Interior Trim - Rear Body
- Interior Trim - Rear Door
- Interior Trim - Roof
- Labels
- Lid & Components
- Liftgate
- Lock & Hardware
- Luggage Carrier
- Master Cylinder - Components On Dash Panel
- Outside Mirrors
- Quarter Panel & Components
- Radiator Support
- Rear Body
- Rear Door
- Rear Floor & Rails
- Rear Seat Components
- Reveal Moldings
- Rocker
- Roof & Components
- Seat Belt
- Sound System
- Structural Components & Rails
- Sunroof
- Tracks & Components
- Trunk
- Wiper & Washer Components
- ABS Components
- Air Bag Components
- Alternator
- Alternator/Generator & Related Components
- Antenna & Radio
- Anti-Theft Components
- Battery
- Bulbs - Chassis
- Combination Lamps
- Cruise Control System
- Daytime Running Lamp Components
- Daytime Running Lamps
- Door
- Electrical Components
- Flasher Units, Fuses, & Circuit Breakers
- Flashers
- Fog Lamps
- Front Door
- Front Seat Belts
- Glass, Windows & Related Components
- Headlamp Components
- Heated Seats
- High Mounted Stop Lamp
- Horn
- Ignition Lock
- Ignition System
- Instruments & Gauges
- Keyless Entry Components
- License Lamps
- Liftgate
- Mirrors
- Powertrain Control
- Rear Door
- Rear Seat Belts
- Relays
- Senders
- Sensors
- Starter
- Sunroof
- Switches
- Switches, Solenoids & Actuators
- Tail Lamps
- Window Defroster
- Wipers
- Bumper & Components - Front
- Bumper & Components - Rear
- Center Console
- Center Pillar
- Cluster & Switches
- Cowl
- Door
- Door & Components
- Doors
- Ducts
- Exterior Moldings
- Exterior Trim - Fender
- Exterior Trim - Front Door
- Exterior Trim - Lift Gate
- Exterior Trim - Pillars
- Exterior Trim - Quarter Panel
- Exterior Trim - Rear Door
- Exterior Trim - Trunk
- Fender & Components
- Floor & Rails
- Front Door
- Front Seat Components
- Fuel Door
- Gate & Hardware
- Glass - Front Door
- Glass - Lift Gate
- Glass - Rear Door
- Glass - Windshield
- Glass & Hardware
- Glass & Hardware - Back
- Glove Box
- Grille & Components
- Hinge Pillar
- Hood & Components
- Inner Structure
- Instrument Panel
- Interior Trim
- Interior Trim - Front Door
- Interior Trim - Pillars
- Interior Trim - Quarter Panels
- Interior Trim - Rear Body
- Interior Trim - Rear Door
- Interior Trim - Roof
- Labels
- Lid & Components
- Liftgate
- Lock & Hardware
- Luggage Carrier
- Master Cylinder - Components On Dash Panel
- Outside Mirrors
- Quarter Panel & Components
- Radiator Support
- Rear Body
- Rear Door
- Rear Floor & Rails
- Rear Seat Components
- Reveal Moldings
- Rocker
- Roof & Components
- Seat Belt
- Sound System
- Structural Components & Rails
- Sunroof
- Tracks & Components
- Trunk
- Wiper & Washer Components
- ABS Components
- Air Bag Components
- Alternator
- Alternator/Generator & Related Components
- Antenna & Radio
- Anti-Theft Components
- Battery
- Bulbs - Chassis
- Combination Lamps
- Cruise Control System
- Daytime Running Lamp Components
- Daytime Running Lamps
- Door
- Electrical Components
- Flasher Units, Fuses, & Circuit Breakers
- Flashers
- Fog Lamps
- Front Door
- Front Seat Belts
- Glass, Windows & Related Components
- Headlamp Components
- Heated Seats
- High Mounted Stop Lamp
- Horn
- Ignition Lock
- Ignition System
- Instruments & Gauges
- Keyless Entry Components
- License Lamps
- Liftgate
- Mirrors
- Powertrain Control
- Rear Door
- Rear Seat Belts
- Relays
- Senders
- Sensors
- Starter
- Sunroof
- Switches
- Switches, Solenoids & Actuators
- Tail Lamps
- Window Defroster
- Wipers
Browse Categories
Select category
- Bumper & Components - Front
- Bumper & Components - Rear
- Center Console
- Center Pillar
- Cluster & Switches
- Cowl
- Door
- Door & Components
- Doors
- Ducts
- Exterior Moldings
- Exterior Trim - Fender
- Exterior Trim - Front Door
- Exterior Trim - Lift Gate
- Exterior Trim - Pillars
- Exterior Trim - Quarter Panel
- Exterior Trim - Rear Door
- Exterior Trim - Trunk
- Fender & Components
- Floor & Rails
- Front Door
- Front Seat Components
- Fuel Door
- Gate & Hardware
- Glass - Front Door
- Glass - Lift Gate
- Glass - Rear Door
- Glass - Windshield
- Glass & Hardware
- Glass & Hardware - Back
- Glove Box
- Grille & Components
- Hinge Pillar
- Hood & Components
- Inner Structure
- Instrument Panel
- Interior Trim
- Interior Trim - Front Door
- Interior Trim - Pillars
- Interior Trim - Quarter Panels
- Interior Trim - Rear Body
- Interior Trim - Rear Door
- Interior Trim - Roof
- Labels
- Lid & Components
- Liftgate
- Lock & Hardware
- Luggage Carrier
- Master Cylinder - Components On Dash Panel
- Outside Mirrors
- Quarter Panel & Components
- Radiator Support
- Rear Body
- Rear Door
- Rear Floor & Rails
- Rear Seat Components
- Reveal Moldings
- Rocker
- Roof & Components
- Seat Belt
- Sound System
- Structural Components & Rails
- Sunroof
- Tracks & Components
- Trunk
- Wiper & Washer Components
- ABS Components
- Air Bag Components
- Alternator
- Alternator/Generator & Related Components
- Antenna & Radio
- Anti-Theft Components
- Battery
- Bulbs - Chassis
- Combination Lamps
- Cruise Control System
- Daytime Running Lamp Components
- Daytime Running Lamps
- Door
- Electrical Components
- Flasher Units, Fuses, & Circuit Breakers
- Flashers
- Fog Lamps
- Front Door
- Front Seat Belts
- Glass, Windows & Related Components
- Headlamp Components
- Heated Seats
- High Mounted Stop Lamp
- Horn
- Ignition Lock
- Ignition System
- Instruments & Gauges
- Keyless Entry Components
- License Lamps
- Liftgate
- Mirrors
- Powertrain Control
- Rear Door
- Rear Seat Belts
- Relays
- Senders
- Sensors
- Starter
- Sunroof
- Switches
- Switches, Solenoids & Actuators
- Tail Lamps
- Window Defroster
- Wipers
- Bumper & Components - Front
- Bumper & Components - Rear
- Center Console
- Center Pillar
- Cluster & Switches
- Cowl
- Door
- Door & Components
- Doors
- Ducts
- Exterior Moldings
- Exterior Trim - Fender
- Exterior Trim - Front Door
- Exterior Trim - Lift Gate
- Exterior Trim - Pillars
- Exterior Trim - Quarter Panel
- Exterior Trim - Rear Door
- Exterior Trim - Trunk
- Fender & Components
- Floor & Rails
- Front Door
- Front Seat Components
- Fuel Door
- Gate & Hardware
- Glass - Front Door
- Glass - Lift Gate
- Glass - Rear Door
- Glass - Windshield
- Glass & Hardware
- Glass & Hardware - Back
- Glove Box
- Grille & Components
- Hinge Pillar
- Hood & Components
- Inner Structure
- Instrument Panel
- Interior Trim
- Interior Trim - Front Door
- Interior Trim - Pillars
- Interior Trim - Quarter Panels
- Interior Trim - Rear Body
- Interior Trim - Rear Door
- Interior Trim - Roof
- Labels
- Lid & Components
- Liftgate
- Lock & Hardware
- Luggage Carrier
- Master Cylinder - Components On Dash Panel
- Outside Mirrors
- Quarter Panel & Components
- Radiator Support
- Rear Body
- Rear Door
- Rear Floor & Rails
- Rear Seat Components
- Reveal Moldings
- Rocker
- Roof & Components
- Seat Belt
- Sound System
- Structural Components & Rails
- Sunroof
- Tracks & Components
- Trunk
- Wiper & Washer Components
- ABS Components
- Air Bag Components
- Alternator
- Alternator/Generator & Related Components
- Antenna & Radio
- Anti-Theft Components
- Battery
- Bulbs - Chassis
- Combination Lamps
- Cruise Control System
- Daytime Running Lamp Components
- Daytime Running Lamps
- Door
- Electrical Components
- Flasher Units, Fuses, & Circuit Breakers
- Flashers
- Fog Lamps
- Front Door
- Front Seat Belts
- Glass, Windows & Related Components
- Headlamp Components
- Heated Seats
- High Mounted Stop Lamp
- Horn
- Ignition Lock
- Ignition System
- Instruments & Gauges
- Keyless Entry Components
- License Lamps
- Liftgate
- Mirrors
- Powertrain Control
- Rear Door
- Rear Seat Belts
- Relays
- Senders
- Sensors
- Starter
- Sunroof
- Switches
- Switches, Solenoids & Actuators
- Tail Lamps
- Window Defroster
- Wipers
No.
Part # / Description / Price
Price
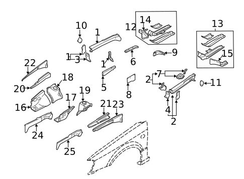
3
2000-2006 Subaru Plate
Subaru
Subaru Positions: Right
Notes: PARTS: Part included with front sidemember assembly.
Description: #1.
MSRP $14.00
$11.17
MSRP $14.00
$11.17
4
2000-2006 Subaru Plate
Subaru
Subaru Positions: Left
Notes: PARTS: Part included with front sidemember assembly.
Description: #1.
MSRP $14.00
$11.17
MSRP $14.00
$11.17
5
7
2000-2006 Subaru Mount Bracket
Subaru
Subaru Notes: PARTS: Part included with front sidemember assembly.
Description: Washer tank.
10
12
MSRP $517.58
$363.34
14
2000-2006 Subaru Rear Side Member Reinforcement
Subaru
Subaru Positions: Right
Notes: PARTS: Part included with rear sidemember section.
15
Rear Side Member Reinforcement
Subaru
Subaru Positions: Left
Notes: PARTS: Part included with rear sidemember section.
16
17
18
MSRP $134.60
$107.41
22
MSRP $39.75
$31.72
23
MSRP $39.75
$31.72